专业代理世界优质品牌
- 瑞士
s
imalube小保姆注油器
- 瑞士
s
imatherm 智能电感应
轴承加热器
- 瑞士
s
imatool专业轴承安装和
拆卸工具
- 德国"Murtfeldt梅富"高耐磨链条
导轨
- 德国"Murtfeldt梅富"智能链条
涨紧器
- 德国"Murtfeldt梅富"各种工程
塑料
- 台湾"Ho Hsing贺欣" 高压环形
鼓风机
- 台湾"Ho Hsing贺欣" 回油式真
空泵
- 东欧STI电马达避震脚
- 台湾YS电马达避震脚
- 美国热动力油冷却器
- 日本"Fuji富士" 高可靠锁母
- 德国"SMG"工程塑料轴承
- 意大利"Poggi坡技" 90
o
转向伞
齿轮箱
- 德国"Ergo Pack雅高"神奇打包机
专业制造及出口优质传动件
- STI
尼龙弹性联轴器
:
S-系列 & B-系列
- STI
弹性膜片联轴器 SV-系列
- STI
链条联轴器 KC-系列
- STI
水泵联轴器 NM-系列
- STI
爪式联轴器 L-系列
- STI
梅花联轴器 R-系列
- STI
同步带轮
- STI
正齿轮
- STI 卡圈
- STI
胀紧联接套
- STI
链轮
- STI 链条
- STI 锥套
- STI 皮带胀紧轮
产品介绍
台湾YS系列电马达避震脚
大中华总代理
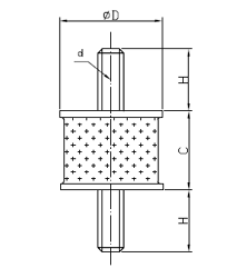
选型列表:
选型列表:
单位:mm
规格
外型尺寸
荷重 KG
D
C
H
d
YS-12I(M4)
16
15
12.16
M4
6~13
YS-12I(M5)
16
15
12.16
M5
6~13
YS-12I(M6)
16
15
12.16
M6
6~13
YS-20I
20
15
16
M6
10~20
YS-25I(S)
25
18
16.18
M6
13~25
YS-25I(L)
25
34
18
M6
10~20
YS-45I(s)
32
30
22
M6
20~50
YS-45I(L)
32
37
15/22
M8
20~50
YS-70I(s)
40
25
32
M10
40~75
YS-70I(L)
40
37
32
M10
40~75
YS-115I
54
30
32
M10
50~130
YS-325I
72
45
32
M12
130~330
YS-595I
112
60
36
M14
330~600
YS-995I
158
75
60
M16
600~1200
欢迎下载电马达避震脚电子样本资料(PDF3.59MB)
Tel: (852)2499 9168
Fax: (852)2417 9183, (852)8343 6887
Email:
sales@silvertech.com.hk
Copyright © 2009 Silvertech Industrial (HK) Ltd. All rights reserved.